Python复数类型(complex)详解
复数(Complex)是 Python 的内置类型,直接书写即可。换句话说,Python 语言本身就支持复数,而不依赖于标准库或者第三方库。 复数由实部(real)和虚部(imag)构成,在 Python 中,复数的虚...
Swift语言中的函数学习教程
数据库中间件MyCat的介绍
Symfony控制层深入详解
symfony中控制层包含了连接业务逻辑与表现的代码,控制层为不同的使用分成了几个不同的部分。 1. 前端控制器是指向应用的唯一入口 2. 动作包含了应用的逻辑,他们检查请求的完整性并准备好表示...
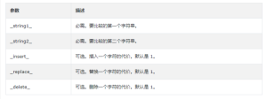
PHP levenshtein()函数用法讲解
Zend Framework教程之分发器Zend_Controller_Dispatcher用法详解
Zend Framework教程之分发器Zend_Controller_Dispatcher用法。具体如下: 分发器的具体实现 Zend Framework的分发器Zend_Controller_Dispatcher设计主要有,如下类和接口组成: ├── Dispatch...








